发布日期:2022-11-12 14:38 浏览次数:
本标准规定了高速动车组应急窗用玻璃逃生试验方法的术语和定义、安全防护措施、试验条件、试验设备及仪器、试验方法、试验结果的评定和试验报告。
本标准适用于设计速度不低于200km/h的高速动车组应急窗用玻璃的逃生试验。
下列文件对于本文件的应用是必不可少的。凡是注日期的引用文件,仅注日期的版本适用于本文件。凡是不注日期的引用文件,其最新版本(包括所有的修改单)适用于本文件。
GB/T 1216 外径千分尺
GB 18045 铁道车辆用安全玻璃
下列术语和定义适用于本文件。
3.1
应急窗 emergency window
经过特殊设计与加工,紧急情况下可被迅速打破,用于逃生或救援的车窗。
3.2
应急锤 emergency hammer
紧急情况下用于敲碎应急窗玻璃的特制尖头锤子。
敲击人员应佩备带面罩的防护头盔、厚胶皮手套等个人防护用品。
除特殊规定外,试验应在下述条件下进行:
a)环境温度:20℃±5℃;
b)大气压力:8.4×104 Pa~1.06×105 Pa;
c)相对湿度:40%~80%。
6.1 应急锤
由锤尖、锤头和手柄组成,如图1所示。应急锤应满足以下条件:
a)重量:180g±10g;
b)锤头采用钢质实心结构,锤头顶尖锥度应不大于60°,尖端曲率半径为0.2mm±0.05mm,锤尖材质为硬质合金,硬度高于50 HRC;
c) 手柄材质宜采用尼龙;
d) 锤身要有防滑设计,与锤头连接牢固,在敲击车窗时不能出现断裂或锤头分离现象。

说明:
1-锤尖;
2-锤头;
3-手柄。
图1 应急锤示意图
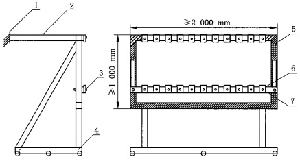
6.2 试验支架
试验支架应具有足够的刚度,采用高度大于50mm的槽钢,用螺栓等牢固固定在地面上,并在背面加支撑装置,以防止冲击时支架明显变形、位移或倾斜。该试验支架高度应和实际车窗高度基本一致,并且能通过调节用于不同尺寸应急窗用玻璃的试验。如图2所示。

说明:
1-固定壁;
2-支持杆;
3-调节螺栓;
4-用螺栓固定的底座;
5-试验框;
6-调节杆;
7-固定试样用压板。
图2 试验支架示意图
6.3 电子秒表
计时电子秒表的测量分辨力应不大于0.1s。
7.1 试验件
从产品中随机抽取4件,其中3件用于从内侧逃生试验,由1名男性和2名女性(可由同一人做两次)进行试验,另1件用于从外侧救援逃生试验,由男性来进行。试验前按照GB18045的外观要求对试验件进行检查,合格品方能用于试验。
7.2 敲击人员
敲击人员至少为1名男性和1名女性,男性年龄18周岁~60周岁、身高不超过1678mm、体重不超过59kg。女性年龄18周岁~55周岁、身高不超过1570mm、体重不超过52kg。
如果敲击人员是第一次进行此类逃生试验,在开始敲击前应对其进行简单的讲解培训。
7.3 试验程序
试验按以下程序进行:
a)检查试验件外观并确定敲击位置;
b)使用符合GB/T1216要求的外径千分尺测量并记录试验件厚度;
c)试验前试验件应保存在规定的试验环境温度下至少24h;
d)记录试验环境温度和相对湿度;
e)将试验件按敲击方向放在符合6.2的试样支架上,周边用C型夹等将试验件固定,至少固定试验件的上下两边;试验件夹持要牢固,在整个试验过程中周边夹持部位不能从试验支架上脱落;
f) 确定敲击人员和逃生试验时间;
g) 敲击人员开始敲击时,计时人员同时开始计时;
h) 敲击人员先用应急锤在敲击位置连续敲击,尽量保证每次敲击重复在同一个点上,直至所有玻璃层全部破碎,然后用力向外推玻璃,直至玻璃脱落到窗外;如果在推的过程发现窗框周边某些部位因玻璃碎片较大等原因,玻璃不能从窗框脱落,可用应急锤在局部再次敲击,而后再用力推;
i) 玻璃脱落后,如果窗框周边有残余碎片,可用应急锤将残余碎片敲落,形成一个不小于规定值的逃生洞口,逃生洞口尺寸的规定值由试验委托方提供;
j) 当形成的洞口尺寸大于规定值或敲击时间达到2min时,计时结束,秒表记录的时间即为该试验件的实际逃生时间;
k)重复c)~j)的过程,进行下一个试验件的试验。
试验结果如下:
a)当2min内能形成完整的洞口时,记录为“脱落”,并记录实际逃生时间和洞口尺寸;
b)当2min时仍未形成完整的洞口时,记录为“未脱落”。
试验报告至少应包括以下内容:
a)试验依据;
b)试验设备及仪器;
c)试验件情况:包括试验件名称、数量、编号、结构、规格尺寸;
d)试验记录:包括环境温度及相对湿度、试验前后试验件状态、敲击位置、敲击人员信息;
e) 试验结果:包括逃生时间、洞口尺寸及脱落状况;
f) 试验单位、试验日期及试验人员。
以上为标准部分内容,如需看标准全文,请到相关授权网站购买标准正版。