MT/T 1067-2007 活性炭吸附H2S穿透容量和穿透时间的测定方法
- 发表时间:2022-10-21
- 来源:共立消防
- 人气:
1 范围
本标准规定了测定煤质颗粒活性炭吸附 H2S 穿透容量和穿透时间试验所用的试样﹑仪器设备﹑测定步骤﹑结果表达和方法的精密度。
本标准适用于煤质颗粒活性炭吸附 H2S 穿透容量和穿透时间的测定,也适用于果壳炭﹑用过的活性炭和再生炭。
2 定义和术语
下列术语和定义适用于本标准
2.1 活性炭 activated carbon
具有吸附性能的含碳类物质。
2.2 穿透容量 Breakthrough capacity
当含有吸附质的气体通过活性炭床层时,当床层出口气体吸附质浓度超过了规定值时, 单位体积活性炭吸附的吸附质的量称为该活性炭的吸附容量。
2.3 穿透时间 Breakthrough time
当含有吸附质的气体通过活性炭床层时,当床层出口气体吸附质浓度超过了规定值时, 试验所需的时间称为该活性炭的穿透时间。
3 方法提要
一定体积的活性炭,经增湿后,在规定条件下通入(1±0.05)%的 H2S 气体,当通入炭层后吸附管的尾气中 H2S 的浓度达到 50mL/m3 时,单位体积活性炭吸附的 H2S 的质量为该活性炭的穿透容量,吸附所需时间为穿透时间。
4 试剂和材料
4.1 氢氧化钠(NaOH)GB/T 629-1997。
4.2 酚酞。
4.3 H2S 检测管,能检测出 H2S 浓度为(0~100)mL/m3 的检测管。
4.4 喷壶,约 300mL。
5 仪器设备
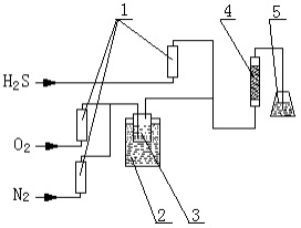
5.1 测定装置见图 1。
5.2 吸附管:直径约 25mm,有效容积(116±5)mL,具体尺寸见图 2。此吸附管用于测直径≤2.5mm 的活性炭,当测定的活性炭直径>2.5mm 时,应选用吸附管的直径是活性炭直径的 10 倍,吸附管打孔的支架开孔率应大于 30%。
6 测定步骤
6.1 试样及其制备:将样品用四分法取出式样。也可用二分器(分样器)缩分样品。
6.2 样品的增湿:将活性炭放入白磁盘中,用喷壶向活性炭喷入雾状蒸馏水,使其增湿到水分为 5%—7%。
6.3 将增湿过的活性炭装入吸附管中,并将吸附管在橡胶垫上敦实,加到吸附管刻线后继续敦实,直到活性炭体积不再变化,然后将吸附管安装到装置上。

1.流量计,2.恒温水浴,3.增湿器,4.吸附管,5 装有碱和酚酞指示剂的锥形瓶。
图 1:活性炭吸附 H2S 穿透容量和穿透时间的装置示意图

图 2:吸附管,图中尺寸:mm
6.4 按化验后的 H2S 的浓度计算应配入的 O2﹑N2 和 H2S 的气量,总气体流量是(1450±50)mL/min,H2S 的浓度是(1±0.05)%,O2 浓度是 20%,其余为 N2。调整恒温水浴的温度为(25±2)℃, 当气体配好后,向吸附管中通入混合气,把吸附管的尾气引入一个 100mL 的锥形瓶中,锥形瓶中加入约 50mL 蒸馏水,加入少许 0.5mol/L 的氢氧化钠溶液和少许酚酞指示剂,同时记下时间。
6.5 开始试验后每隔 30min 观察一下锥形瓶的粉红色是否消失,如果粉红色消失,证明有 H2S 气体穿过,这时应每隔(20-30)min 用快速 H2S 气体检测管检查尾气,直到尾气中 H2S 气体的浓度为 50mL/m3,这时停止试验,并记下时间。
6.6 按上述步骤再作一份平行试验。
7 结果计算
7.1 H2S 的穿透容量为:

式中:
C--H2S的穿透容量,单位为克每毫升,g/mL;
CQ—试验气中 H2S 的体积百分数,单位为百分数,%;
VZ—试验气的总流量,单位为毫升每分钟,mL/min;
34--H2S 的摩尔质量,单位为克每摩尔,g/mol;
22.4—标准状况下 H2S 的摩尔体积,单位为升每摩尔,L/mol;
VG—吸附管的有效体积,单位为毫升,mL。
7.2 结果以两次试验的算术平均值表示,穿透容量修约到小数点后 3 位,穿透时间修约到min。
8 方法的精密度
两次平行测定结果的差值不得超过其算术平均值的 10%。
以上为标准部分内容,如需看标准全文,请到相关授权网站购买标准正版。
-
IG541混合气体灭火系统
IG541混合气体灭火系统:IG-541灭火系统采用的IG-541混合气体灭火剂是由大气层中的氮气(N2)、氩气(Ar)和二氧化碳(CO2)三种气体分别以52%、40%、8%的比例混合而成的一种灭火剂 -
二氧化碳气体灭火系统
二氧化碳气体灭火系统:二氧化碳气体灭火系统由瓶架、灭火剂瓶组、泄漏检测装置、容器阀、金属软管、单向阀(灭火剂管)、集流管、安全泄漏装置、选择阀、信号反馈装置、灭火剂输送管、喷嘴、驱动气体瓶组、电磁驱动 -
七氟丙烷灭火系统
七氟丙烷(HFC—227ea)灭火系统是一种高效能的灭火设备,其灭火剂HFC—ea是一种无色、无味、低毒性、绝缘性好、无二次污染的气体,对大气臭氧层的耗损潜能值(ODP)为零,是卤代烷1211、130 -
手提式干粉灭火器
手提式干粉灭火器适灭火时,可手提或肩扛灭火器快速奔赴火场,在距燃烧处5米左右,放下灭火器。如在室外,应选择在上风方向喷射。使用的干粉灭火器若是外挂式储压式的,操作者应一手紧握喷枪、另一手提起储气瓶上的


