AQ/T 4123-2014 烟花爆竹 烟火药火焰感度测定方法
- 发表时间:2022-09-11
- 来源:共立消防
- 人气:
1 范围
本标准规定了烟火药火焰感度测定的材料和仪器、试验准备、试验步骤、发火与瞎火的判别、试验结 果处理和火焰感度仪标定方法。
本标准适用于烟花爆竹用烟火药火焰感度的测定。
含烟火药效果件火焰感度可参照执行。
2 规范性引用文件
下列文件对于本文件的应用是必不可少的。凡是注日期的引用文件,仅注日期的版本适用于本文件。凡是不注日期的引用文件,其最新版本(包括所有的修改单)适用于本文件。
WJ 636 雷管点燃用黑药柱
3 术语和定义
下列术语和定义适用于本标准。
3.1
火焰感度 flame sensitivity
在一定条件下,烟火药受喷射火焰直接作用而发火,其发火的难易程度,称为火焰感度。通常用H50(50%发火距离)来表示烟火药的火焰感度,H50值越小表示越容易发火,火焰感度越高;H50值越大 表示越不容易发火,火焰感度越低。
4 测定原理
在规定条件(质量、密度)下,在不同距离下用标准黑药柱喷射的火焰点燃烟火药,采用升降法试验, 统计计算出50%发火距离H50,以H50来表示烟火药的火焰感度。
5 材料和仪器
5.1 黑药柱:应符合WJ 636要求。
5.2 试样盂:外径为6.5 mm,总高度为2.0 mm〜2.2 mm,可用厚度为(0.5±0.02)mm的铝箔、铜带 等冲制。
5.3 变压器:输入电压220 V,输出电压应W36V。
5.4 电阻丝:功率为1 000 W〜2 000 W,接通电源后应保证电阻丝在3 s〜4 s内发红。
5.5 天平:精度0.001g。
5.6 烘干箱:水浴或油浴烘干箱,控制温度(55±2)℃。
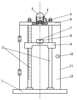
5.7 火焰感度仪:图1所示为火焰感度仪。

说明:
1——底座;
2——立柱;
3——点火装置;
4——黑药柱;
5——药柱模;
6——顶盖;
7——试样盂;
8——试样模;
9——托盘架;
10——门栓;
11——护罩;
12——门。
图1 火焰感度仪
6 试验准备
6.1 仪器的检查与调整
6.1.1 用棉纱等擦拭两立柱上的污物,必要时在立柱上涂抹少许润滑油,保证托盘架能在立柱上能灵 活移动。
6.1.2 点火装置内和点火用电阻丝应干净无残渣。
6.1.3 打开电源开关,打开点火开关,使电阻丝发红,如发生电阻丝断裂或氧化严重,应更换新电阻丝。
6.1.4 选择更换无加长导火管的药柱模。
6.2 烟火药的研磨与筛选
试样分为发射药、粉状烟火药、块状或粒状烟火药。
a)发射药不进行研磨和筛选;
b)粉状烟火药不进行研磨,使烟火药通过孔径425 nm的标准筛,如有不能通过的铝渣、钛粉等硬质颗粒,将硬质颗粒一同放入筛过的烟火药中混合均匀;
c)块状或粒状烟火药,不论是否含有外层的引燃药,均不剥离,直接在研钵(应使用铜质等不发火材质的研钵)内碾碎、研磨,如有大块的纸屑、稻壳应剔除,使烟火药通过孔径425 nm的标 准筛,如有不能碾碎的铝渣、钛粉等硬质颗粒,将硬质颗粒一同放入筛过的烟火药中混合均匀。
6.3 烟火药和黑药柱的烘干
将烟火药和黑药柱放入水浴(或油浴)烘干箱中,在(55±2)℃的温度下烘干4h,取出,放入干燥器内,冷却30 min后备用。
7 试验步骤
7.1 首发试验
7.1.1 打开电源开关。
7.1.2 根据经验选择第一次试验点火距离。
7.1.3 称取将经6.2和6.3处理的烟火药(0.020±0.005)g,置于试样盂内,轻轻振动使烟火药均匀平铺在试样盂内。
7.1.4 将试样盂药面朝上放入试样模内套中心,将试样模放在托盘架上,关好防护门。
7.1.5 将经6.3处理的黑药柱放入药柱模内,然后放在火焰感度仪的顶部中心孔位置(见图1),扣上点火装置。
7.1.6 打开点火开关,点燃黑药柱,观察烟火药是否发火。
7.1.7 断开点火开关,打开防护门,取出试样模和药柱模并擦拭。
7.2 根据经验选择试验步长d
根据经验选择试验步长d,参考步长为2 cm〜5 cm。
7.3 试验的继续和完成
7.3.1 首发以后各发试验方法:如前一发烟火药发火,则本次试验增加一个步长的点火距离进行试验; 如前一发烟火药瞎火,则本次试验减少一个步长的点火距离进行试验。
7.3.2 重复7.3.1的操作,直到首次出现与前一发试验相反的结果时开始进行记录,前一次试验记录 为第一发,当前试验记录为第二发,直至取得30发有效数据。
7.3.3 若取得的30发有效数据中点火距离数为4个〜7个,则试验完成,关闭电源开关;若点火距离 数<4个或>7个时,应改变d,重新试验。
8 发火与瞎火的判别
8.1 发火的判别
烟火药发生爆炸或燃烧现象时判定为发火。
a)爆炸现象:产生爆炸声、烟雾、火光现象,烟火药爆炸完全或不完全,试样盂内有爆炸物残渣;
b)燃烧现象:产生燃烧火光、冒烟现象,烟火药燃烧完全或不完全,试样盂内有燃烧物残渣。
以上为标准部分内容,如需看标准全文,请到相关授权网站购买标准正版。
-
IG541混合气体灭火系统
IG541混合气体灭火系统:IG-541灭火系统采用的IG-541混合气体灭火剂是由大气层中的氮气(N2)、氩气(Ar)和二氧化碳(CO2)三种气体分别以52%、40%、8%的比例混合而成的一种灭火剂 -
二氧化碳气体灭火系统
二氧化碳气体灭火系统:二氧化碳气体灭火系统由瓶架、灭火剂瓶组、泄漏检测装置、容器阀、金属软管、单向阀(灭火剂管)、集流管、安全泄漏装置、选择阀、信号反馈装置、灭火剂输送管、喷嘴、驱动气体瓶组、电磁驱动 -
七氟丙烷灭火系统
七氟丙烷(HFC—227ea)灭火系统是一种高效能的灭火设备,其灭火剂HFC—ea是一种无色、无味、低毒性、绝缘性好、无二次污染的气体,对大气臭氧层的耗损潜能值(ODP)为零,是卤代烷1211、130 -
手提式干粉灭火器
手提式干粉灭火器适灭火时,可手提或肩扛灭火器快速奔赴火场,在距燃烧处5米左右,放下灭火器。如在室外,应选择在上风方向喷射。使用的干粉灭火器若是外挂式储压式的,操作者应一手紧握喷枪、另一手提起储气瓶上的


