GB/T 22459.2-2022 耐火泥浆 第2部分:稠度试验方法(跳桌法)
- 发表时间:2022-11-27
- 来源:共立消防
- 人气:
1 范围
本文件规定了耐火泥浆稠度试验方法的原理、仪器设备、取样、试验程序、结果计算和试验报告。
本文件适用于耐火泥浆稠度(跳桌法)的测定。
2 规范性引用文件
下列文件中的内容通过文中的规范性引用而构成本文件必不可少的条款。其中,注日期的引用文件,仅该日期对应的版本适用于本文件;不注日期的引用文件,其最新版本(包括所有的修改单)适用于本文件。
GB/T 4513.2 不定形耐火材料 第2部分:取样(GB/T 4513.2-2017,ISO 1927-2:2012,IDT)
GB/T 8170 数值修约规则与极限数值的表示和判定
GB/T 18930 耐火材料术语(GB/T 18930-2020,ISO 836:2001,MOD)
GB/T 22459.1 耐火泥浆 第1部分:稠度试验方法(锥入度法)(GB/T 22459.1-2022,ISO 13765-1:2004,MOD)
3 术语和定义
GB/T 18930和GB/T 22459.1界定的术语和定义适用于本文件。
4 原理
试样在跳桌的机械振动作用下,直径增加,以直径增加的百分率来表示耐火泥浆的稠度。
5 仪器设备
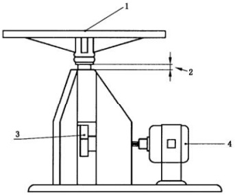
5.1 跳桌:结构示意图见图1。跳桌桌台可通过电机驱动凸轮机构提升高度,然后靠重力作用自由降落,并按此方式重复性地做上下间歇跳动,跳幅为12.7mm±0.1mm(见图1标引序号2),跳动频率为15s跳动25次。跳桌台面圆形,直径254mm±2.7mm,表面光洁平整、不渗水,并耐试样和环境侵蚀。
5.2 截头圆锥模具:形状尺寸见图2。模具内表面应光洁不渗水,宜用不锈钢或其他耐试样或环境侵蚀的材料制作。
5.3 搅拌机:符合GB/T 22459.1的规定。
5.4 温度计:最小分度值不大于1℃。
5.5 抹刀。
5.6 量筒:最小分度值不大于5mL。
5.7 天平:最小分度值不大于1g。
5.8 游标卡尺或带刻度的直尺:最小分度值不大于0.5mm。
6 取样
按GB/T 4513.2的规定取样或由相关方协商。
标引序号说明:

1——跳桌台面;
2——跳桌桌台下落距离;
3——凸轮机构;
4——电机。
图1 跳桌
单位为毫米

图2 截头圆锥模具
7 试验程序
7.1 试验前,试料应在18℃~22℃下放置24h。试验时,试验室温度和加入的水(或规定的液体)温度应保持在18℃~22℃。
7.2 试验前,跳桌宜先空跳25次,以检查跳桌是否能正常跳动。跳桌表面应擦拭干净,然后将清洁、干燥的截头圆锥模具放在跳桌中心。
7.3 干粉泥浆,称取试样(有外加剂时应按比例加入,并记录加入量)置于搅拌机中,按产品使用说明加水(或规定的液体),混合均匀。记录加液量。将混合好的泥浆密封放置15min,再次搅拌均匀,第2次搅拌时间一般不少于2min,或根据产品使用说明进行操作。对于预搅拌泥浆,应将包装容器中的全部泥浆混合均匀后进行测试。
7.4 测量混合好的泥浆的温度,精确至1℃。
7.5 在模具中均匀地装满泥浆。用抹刀将泥浆表面抹平,并修至与模具上部齐平。垂直提起模具,用抹刀将留在模具内的泥浆刮下,并放在跳桌上泥浆表面的中心。使跳桌在15s内均匀跳动25次。在相互垂直的两个方向上测量泥浆的直径,取其平均值作为平均直径,精确至毫米。
7.6 按7.5的规定重复测量2次。
8 结果计算
按公式(1)计算直径增加率F,表示耐火泥浆的稠度,以%表示:

式中:
F——稠度(直径增加率),%;
D——泥浆的平均直径,单位为毫米(mm);
D0——模具下底的内径,单位为毫米(mm)。
以3次试验结果的平均值作为泥浆稠度的试验结果,精确至1%,并按GB/T 8170修约。
9 试验报告
试验报告应包括以下内容:
a)材料名称、种类、牌号、批号及委托方等;
b)执行的标准;
c)检测机构的名称;
d)干粉泥浆加水(或规定的液体)量及外加剂的质量分数;
e)试验结果,包括试验的单值和平均值;
f) 试验环境温度;
g)混合均匀后泥浆的温度;
h)与规定操作程序的任何差异;
i) 试验过程中观察到的任何异常现象;
j) 试验日期:
k)试验人员。
以上为标准部分内容,如需看标准全文,请到相关授权网站购买标准正版。
-
IG541混合气体灭火系统
IG541混合气体灭火系统:IG-541灭火系统采用的IG-541混合气体灭火剂是由大气层中的氮气(N2)、氩气(Ar)和二氧化碳(CO2)三种气体分别以52%、40%、8%的比例混合而成的一种灭火剂 -
二氧化碳气体灭火系统
二氧化碳气体灭火系统:二氧化碳气体灭火系统由瓶架、灭火剂瓶组、泄漏检测装置、容器阀、金属软管、单向阀(灭火剂管)、集流管、安全泄漏装置、选择阀、信号反馈装置、灭火剂输送管、喷嘴、驱动气体瓶组、电磁驱动 -
七氟丙烷灭火系统
七氟丙烷(HFC—227ea)灭火系统是一种高效能的灭火设备,其灭火剂HFC—ea是一种无色、无味、低毒性、绝缘性好、无二次污染的气体,对大气臭氧层的耗损潜能值(ODP)为零,是卤代烷1211、130 -
手提式干粉灭火器
手提式干粉灭火器适灭火时,可手提或肩扛灭火器快速奔赴火场,在距燃烧处5米左右,放下灭火器。如在室外,应选择在上风方向喷射。使用的干粉灭火器若是外挂式储压式的,操作者应一手紧握喷枪、另一手提起储气瓶上的


