GB 24155-2020 电动摩托车和电动轻便摩托车安全要求
- 发表时间:2023-03-13
- 来源:共立消防
- 人气:
1 范围
本标准规定了纯电动摩托车、纯电动轻便摩托车安全的一般要求、电气安全要求、操作安全要求、标志和警示语要求和试验方法等。
本标准适用于纯电动摩托车、纯电动轻便摩托车(除特殊说明外,以下简称“电动摩托车”)。
2 规范性引用文件
下列文件对于本文件的应用是必不可少的。凡是注日期的引用文件,仅注日期的版本适用于本文件。凡是不注日期的引用文件,其最新版本(包括所有的修改单)适用于本文件。
GB/T 4208-2017 外壳防护等级(IP代码)
GB/T 5359.1 摩托车和轻便摩托车术语 第1部分:车辆类型
GB 7258 机动车运行安全技术条件
GB 15365 摩托车和轻便摩托车操纵件、指示器及信号装置的图形符号
GB/T 18384.1-2015 电动汽车 安全要求 第1部分:车载可充电储能系统(REESS)
GB/T 18384.3-2015 电动汽车 安全要求 第3部分:人员触电防护
GB/T 19596 电动汽车术语
GB/T 24157 电动摩托车和电动轻便摩托车续驶里程及残电指示试验方法
3 术语和定义
GB/T 5359.1、GB/T 18384.3-2015和GB/T 19596界定的以及下列术语和定义适用于本文件。
3.1
调速单元 speed regulation unit
当电动摩托车处于“可行驶模式”时,可控制其行驶速度的操作装置。
3.2
车载充电机 on-board charger
固定安装在电动摩托车上,将公共电网的电能转换为直流电给车载储能装置充电的装置。
4 要求
4.1 一般要求
4.1.1 应避免电气部件所产生的热量造成燃烧或人员烫伤。
4.1.2 电控调速单元的设计应避免由于非正常操作或无操作而引起的火灾或触电危险。
4.2 电气安全要求
4.2.1 动力蓄电池
4.2.1.1 散热和通风
动力蓄电池箱应有良好的散热和通风,同时在结构设计上应保证安装在电动摩托车上的动力蓄电池产生的有害气体不会储存于电动摩托车内部的角落。
4.2.1.2 安装
动力蓄电池在正常安装位置条件下,表面不得有电解液渗漏或溅出。动力蓄电池的安装应保证车辆运行受到振动时,蓄电池不能受到不正常的摩擦或应力。
4.2.1.3 电池保护
动力蓄电池、充电系统和动力电路系统应设有保护功能。该功能应能在电动摩托车制造厂规定的过流、欠压、过充电、过热与动力蓄电池连接的电路出现短路的情况下,自动断开与动力蓄电池的连接电路。该功能的响应时间应符合产品技术文件。
4.2.1.4 电气间隙与爬电距离
动力蓄电池的爬电距离应满足如下要求:
a)动力蓄电池连接端子间的爬电距离d1按式(1)计算,单位为毫米(mm):
d1≥0.25U+5 …………………(1)
式中:
U——动力蓄电池两个输出端子间的最大工作电压,单位为伏(V)。
b)带电部件与电平台之间的爬电距离d2按式(2)计算,单位为毫米(mm):
d2≥0.125U+5 …………………(2)
式中:
U——动力蓄电池两个输出端子间的最大工作电压,单位为伏(V)。
导电部件之间的电气间隙应不小于2.5mm。
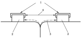
电气间隙和爬电距离的测量见图1。

说明:
1——可导电表面;
2——连接端子(蓄电池模块、蓄电池包或动力蓄电池);
3——爬电距离;
4——电气间隙。
4.2.2 带电部分的触电防护
4.2.2.1 除特殊说明外,标称电压不高于36 V(d.c.)和12 V(a.c.)(rms)的带电部分本标准不做要求。注:使用脉冲电压时,取10ms以上的最大电压值为工作电压,若峰值持续时间均小于10ms时则取其均方根值。
4.2.2.2 标称电压高于36V(d.c.)和12V(a.c.)(rms)的带电部分应使用绝缘包覆即基本绝缘或加以隔离密封以防止直接接触。
4.2.2.3 带电部分的绝缘材料应能满足标称电压及温度的要求。带电部件的绝缘包覆应只能通过毁坏才能被拆除。绝缘油漆、涂料、胶水、瓷釉等类似材料都不应用作绝缘包覆(基本绝缘)。
4.2.2.4 带电部分的隔离密封应使用具有适当强度的护板、护盖、保护架等以防止直接接触。其中人员乘坐及放置物品的空间的隔离防护装置不可以在不使用工具或无意识的情况下被打开、拆除;其他不使用工具能够打开的部位应标示警告符号,警告符号见图2。
4.2.2.5 不得含有裸露的导线、接线端、连接单元。车上布线应加以保护,不得接触毛刺、散热片等,以免损坏布线绝缘;通过绝缘导线的金属孔其表面要光滑、圆整且配有套管。
4.2.2.6 各电气部件之间的连接导线,不应受到过度的拉力;方向把与车架之间的连接不应因正常转动而损坏导线的绝缘,同时应有效防止电线与运动部件的接触。
4.2.2.7 B级电压电路中的电缆及电路中的外皮(可以是线缆护管)应用橙色加以区分,外壳里面或遮栏后面的除外。
4.2.2.8 B级电路的绝缘电阻应大于1000Ω/V,绝缘电阻测量方法按照5.2进行。
4.2.2.9 对于安装有车载充电机的电动摩托车,应对其车载充电机的输入端与电平台之间进行耐电压试验。试验后,车载充电机的输入端与电平台之间的绝缘电阻应符合4.2.2.8的要求。
4.2.2.10 按照5.4进行各项防水试验后,均应按照5.2立即测量电路的绝缘电阻(电动摩托车仍是湿的),绝缘电阻值应大于500Ω/V;静置24h后再次测试应大于1000 Ω/V。
4.2.2.11 遮栏/外壳的防护等级应至少能满足GB/T 4208-2017中IPXXB的要求:
a)客舱和行李舱中的遮栏/外壳的防护等级应至少能满足GB/T 4208-2017中IPXXD的要求;
b) 对于不用工具可以断开且未接合时带B级电压的连接器,在未连接状态下应至少能满足GB/T 4208-2017中IPXXB的要求。
4.2.2.12 出现故障的B级电压电路可采用断电的方式进行保护。切断供电的电路应在车辆制造商规定的时间内达到下列要求之一:
——交流电路应降到30V(a.c.)(rms)以下,直流电路应降到60V(d.c.)以下;
——电路存储的总能量小于0.2J。
4.2.3 外露可导电部分的触电保护
4.2.3.1 A级电压外露可导电部分本标准不做要求。
4.2.3.2 外露可导电部件全部连接以维持电位均衡。其连接方式可以为:
a) 以电线连接;
b) 经由螺丝与金属车架连接。
4.2.3.3 外露可导电部分应满足下列要求之一:
——任何两个外露可导电部件之间的电阻值不超过0.1Ω;
——外露可导电部件通过绝缘材料与B级电压系统进行隔离,且与B级电压系统之间的绝缘电阻大于20MΩ,试验电压为1000 V。
4.2.4 电动摩托车与充电电源连接要求
4.2.4.1 电动摩托车与充电电源进行物理连接时不可通过电动摩托车自身的驱动系统使其移动。充电连接所使用的元件应具有可终止连接以中断电流,而不会造成任何物体损坏的功能。
4.2.4.2 固定安装在电动摩托车上的充电接口在断开时应至少满足下述一种要求:
——使传导连接到电网的电路在1s内断电,断电电路应满足4.2.2.12的要求;
——满足GB/T 4208-2017中IPXXB的要求,并能在制造商规定的时间内断电。
以上为标准部分内容,如需看标准全文,请到相关授权网站购买标准正版。
-
IG541混合气体灭火系统
IG541混合气体灭火系统:IG-541灭火系统采用的IG-541混合气体灭火剂是由大气层中的氮气(N2)、氩气(Ar)和二氧化碳(CO2)三种气体分别以52%、40%、8%的比例混合而成的一种灭火剂 -
二氧化碳气体灭火系统
二氧化碳气体灭火系统:二氧化碳气体灭火系统由瓶架、灭火剂瓶组、泄漏检测装置、容器阀、金属软管、单向阀(灭火剂管)、集流管、安全泄漏装置、选择阀、信号反馈装置、灭火剂输送管、喷嘴、驱动气体瓶组、电磁驱动 -
七氟丙烷灭火系统
七氟丙烷(HFC—227ea)灭火系统是一种高效能的灭火设备,其灭火剂HFC—ea是一种无色、无味、低毒性、绝缘性好、无二次污染的气体,对大气臭氧层的耗损潜能值(ODP)为零,是卤代烷1211、130 -
手提式干粉灭火器
手提式干粉灭火器适灭火时,可手提或肩扛灭火器快速奔赴火场,在距燃烧处5米左右,放下灭火器。如在室外,应选择在上风方向喷射。使用的干粉灭火器若是外挂式储压式的,操作者应一手紧握喷枪、另一手提起储气瓶上的


